Sony heeft een patent aangevraagd die het dus mogelijk maakt dat verschillende personen een ander beeld tegelijkertijd op een 3D TV zien. Het gebruik hiervoor is toepasbaar in meerdere situaties;
1) Multi-player game waarbij elke speler een ander beeld op het scherm heeft.
2) De vrouw in huis kijkt een soap serie, de mand een voetbalwedstrijd en het kind speelt op de PlayStation.
3) Verschillende groepen kijkers bekijken verschillende voetbalwedstrijden in een kroeg.
Hoe het werkt
De techniek hierachter is eigenlijk heel simpel. Omdat 3D brillen het linker en het rechter oog om de beurt blokkeren kunnen ze ook bepalen wat je op het scherm zien – welke beelden ze laten zien en welke ze blokkeren.
Dus als een voetbalwedstrijd en een PS3 game tegelijkertijd weergegeven worden kan de 3D bril bepalen dat de frames van de voetbalwedstrijd alleen aan gebruiker 1 getoond worden. Vice Versa met de PS3 game frames.

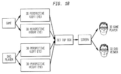
Meerdere 3D beelden ook mogelijk
Het patent omvat ook de mogelijkheid om twee 3D beelden tegelijkertijd weer te geven. Dit houdt in dat de gebruikers tegelijkertijd een 3D game en een 3D film zouden kunnen spelen/bekijken.

Momenteel zit er wat beperkingen aan de techniek, maar naar mate schermen snellen worden kunnen er meer beelden tegelijkertijd weergegeven worden. Een groot voordeel is natuurlijk de teloorgang van het split-screen gamen, maar het nadeel blijft dat je een 3D bril zult moeten dragen!
Reacties (1)